Choose your country
Go to your local Sikla page and discover offers for your country or sales region:
Country
DF AV



Group: A442
Part number 117170
Enables direct connection of constructions with siFramo using WBD brackets F 80/100 or girder brackets F 80/100
Suitable for sizes 80/120 and for use on various roof types

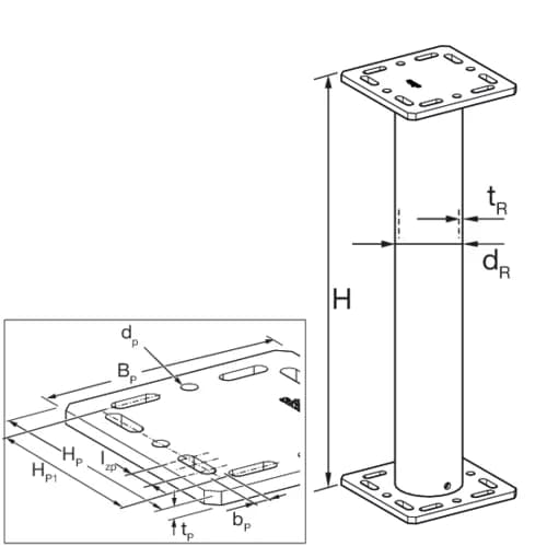
BP | 220 mm |
bP | 14 mm |
dP | 14 mm |
dR | 114.3 mm |
H | 705 mm |
HP | 220 mm |
HP1 | 170 mm |
IZP | 30 mm |
tP | 12 mm |
tR | 7.1 mm |
Primary element material | steel |
Surface finish | HCP |
Corrosion protection class | C4 |
Connection of WBD brackets F 80/100 - 80/120 and TKO F 80/100 by means of 4 hexagon bolts M12 and suitable washers and nuts.
Fastening on roofs and on concrete by means of heavy-duty anchors M12.
Important: The zinc drain holes in the support tube must be sealed after installation. If insulation is required in the support tube, it can be provided by the customer, e.g. by foaming.
Certification
