Choose your country
Go to your local Sikla page and discover offers for your country or sales region:
Country
Up to DN 50

From DN 65


Group: 1102
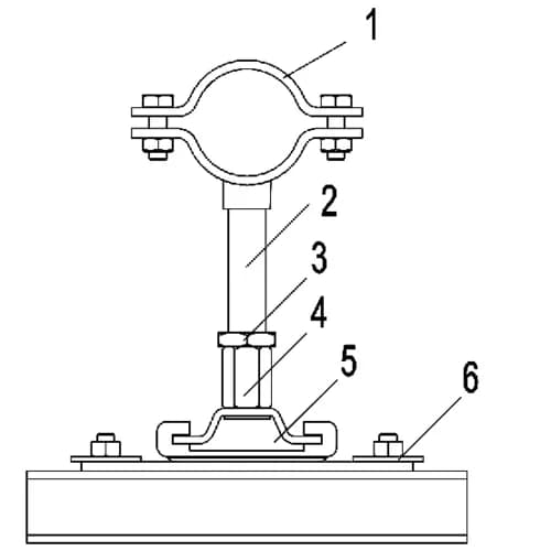
Assembly group for use as a guided support with heavy pipe clamp Stabil I-1/2'
Designed for use with the Sikla MS 41 channel system, height adjustment via Threaded Tube 1/2'
From DN 65 upwards, Slide Set GS H3G2-PL creates two pipe supports
An Assembly Group for use as a guided support with the heavy Pipe Clamp Stabil I-1/2'. The Assembly Group is designed for use with the Sikla 41 MS channel system. The height is adjusted via the Threaded Tube 1/2'. From DN 65 upwards, the Slide Set GS H3G2-PL is used to create two pipe supports.
Certification

Primary element material | steel |
Sliding element material | steel |
Connecting element material | steel |
Surface finish | electro galvanized (Fe//Zn), HCP |
Corrosion protection class | C4 |
Software
This product is available in the following software.





The assembly of the individual components to form an Assembly Group is carried out during the course of pipe installation on the construction site.
L(max, horizontal) = not recommended
Info | Type | Size min. | Size max. | DN | Weight | Quantity | Part number | |
| BG13 MS 41-1/2'' DN 15 HCP | 16,00 mm | 22,00 mm | DN 15 (1/2") | 2,19 kg/pcs. | 1 pcs. | 110191 | ||
| BG13 MS 41-1/2'' DN 20 HCP | 23,00 mm | 27,00 mm | DN 20 (3/4") | 2,2 kg/pcs. | 1 pcs. | 110192 | ||
| BG13 MS 41-1/2'' DN 25 HCP | 30,00 mm | 34,00 mm | DN 25 (1") | 2,23 kg/pcs. | 1 pcs. | 110193 | ||
| BG13 MS 41-1/2'' DN 32 HCP | 39,00 mm | 44,00 mm | DN 32 (1 1/4") | 2,25 kg/pcs. | 1 pcs. | 110194 | ||
| BG13 MS 41-1/2'' DN 40 HCP | 44,00 mm | 49,00 mm | DN 40 (1 1/2") | 2,32 kg/pcs. | 1 pcs. | 110195 | ||
| BG13 MS 41-1/2'' DN 50 HCP | 57,00 mm | 61,00 mm | DN 50 (2") | 2,51 kg/pcs. | 1 pcs. | 110196 | ||
| BG13 MS 41-1/2'' DN 65 HCP | 73,00 mm | 77,00 mm | DN 65 (2 1/2") | 4,01 kg/pcs. | 1 pcs. | 110197 | ||
| BG13 MS 41-1/2'' DN 80 HCP | 85,00 mm | 89,00 mm | DN 80 (3") | 4,13 kg/pcs. | 1 pcs. | 110198 | ||
| BG13 MS 41-1/2'' DN 100 HCP | 109,00 mm | 116,00 mm | DN 100 (4") | 4,71 kg/pcs. | 1 pcs. | 110199 | ||