Choose your country
Go to your local Sikla page and discover offers for your country or sales region:
Country
TCS F







Group: 1337
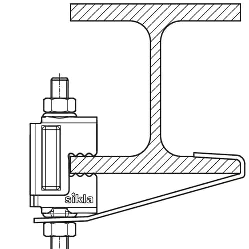
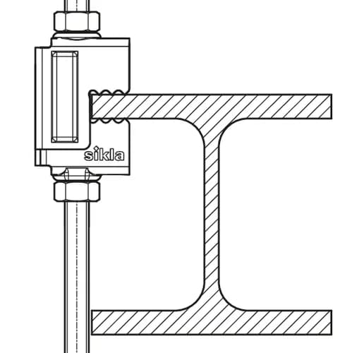
Solid element designed for connecting pipes, ducts and other equipment to steel sections
Self-locking mechanism allows two-handed operation and quick, economical assembly
The TCS F Beam Clamp is a solid element designed for connecting pipes, ducts and other equipment to steel sections (UB, UC, PFC sections). A self-locking mechanism allows positioning by using one hand. The TCS F Beam Clamp can be used both for single drop rods and, in pairs, for trapezes.
Certification



CE mark (Declaration of performance see downloads)
ETA-24/0471
Primary element material | steel |
Surface finish | electro galvanized (Fe//Zn) |
Corrosion protection class | C2 |
Type | -VZ,perm. |
TCS F VDS/FM M8/M10 | 3,50 kN |
The nominal loads indicated apply to new Beam Clamps fixed to undamaged beam flanges only.
Software
This product is available in the following software.

Place the beam clamp around the flange and push the two components together. Pass the threaded rod through the beam clamp and tighten both nuts (tightening torque 10 Nm).
Clamping range on parallel flange: 30 mm
Note: Follow the assembly instructions!
For FM systems, M10 only!
PDF (0.57MB)
PDF (6.09MB)
Info | Type | Max. flange thickness | Thread connection | Weight | Quantity | Part number | |
| TCS F VDS/FM M8/M10 | 30,00 mm | M8/M10 | 0,125 kg/pcs. | 50 pcs. | 116488 | ||