Choose your country
Go to your local Sikla page and discover offers for your country or sales region:
Country
Type 30


Group: A710
Part number 113647
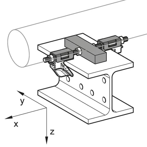
Slide bearing base for pipes of DN 15 up to DN 300
Suitable fixed on steel beams with flange widths of 80mm up to 300mm and max. flange thickness of 20mm.
Preassembled Slide Bearing Set containing:
2 clamping hooks with slide bearers
1 slide bar
1 connecting rod M10 + nuts
Max. temperature | 130 °C |
Min. temperature | -20 °C |
Material base body | steel |
Material sliding element | PA GF |
Surface | HCP |
Corossion class | C4 |
Type 80/120 available from stock.
Certification

Position the preassembled clamping hooks onto the beam flange and tighten the nuts (to 10Nm). For beam widths < 100mm both nuts of the PA bearing blocks have to be removed. The pipe slides directly on the PA bearing blocks without lateral guidance. If larger lateral movement (> 40mm) along the Y axis is required or nominal pipe sizes > DN 100 are used, a broader PA bearing block of Type 100 is recommended.
Feasible media temperatures must be calculated individually to prevent possible condensation.
| Type | for flange width [mm] |
|---|---|
| 80/120 | 80 - 120 |
| 140/160 | 121 - 160 |
| 180/220 | 161 - 220 |
| 240/260 | 221 - 260 |
| 280/300 | 261 - 300 |