Choose your country
Go to your local Sikla page and discover offers for your country or sales region:
Country
DF AH



Group: A442
Part number 117171
Enables direct connection of TP F 100 and TP F 100/160 support profiles
Suitable for use on various roof types

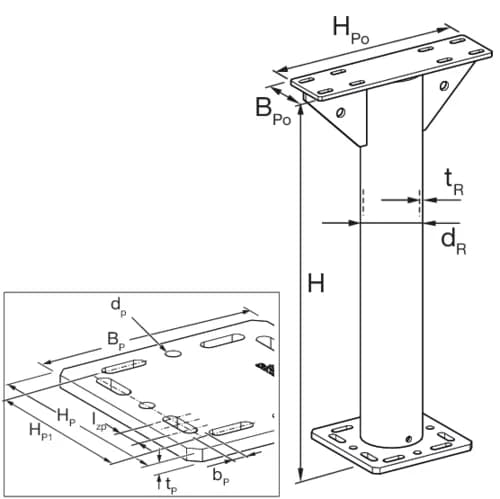
BP | 220 mm |
bP | 14 mm |
BPo | 100 mm |
dP | 14 mm |
dR | 114,3 mm |
H | 746 mm |
HP | 220 mm |
HP1 | 170 mm |
HPo | 383 mm |
IZP | 30 mm |
tP | 12 mm |
tR | 7,1 mm |
Primary element material | steel |
Surface finish | HCP |
Corrosion protection class | C4 |
Connection of support profiles TP F 100 and TP F 100/160 by means of 8 Formlock screws FLS F.
Fastening to roofs and concrete using heavy-duty anchors M12.
Important: The zinc drain holes in the support tube must be sealed after installation. If insulation is required in the support tube, it can be provided by the customer, e.g. by foaming.
Certification
